11月1日·最新外国「自研」大模型,都是套壳国产?

11月1日·周六  AI工具和资源推荐

AI智库导航-aiguide.cc为您提供最新的AI新闻资讯和最新的AI工具推荐,在这里你可以获得用于营销的AI聊天机器人、AI在商业管理中的应用、用于数据分析的AI工具、机器学习模型、面向企业的AI解决方案、AI在商业客户服务中的应用、AI和自动化工具等。

最新外国「自研」大模型,都是套壳国产?

在AI领域,外国开发者发布的最新大模型引发关注。美国科技公司Cursor推出的Composer模型和Cognition的SWE-1.5模型,均被指行为与国产模型相似,甚至有观点认为其背后基于中国开源模型开发。业界大佬Daniel Jeffries指出,许多公司选择在后期训练阶段投资强化学习,而非从零开始训练,这表明开源模型对行业发展的重要性。英伟达CEO黄仁勋也强调开源模型的强大,其数据显示阿里通义千问模型占据开源模型大部分市场份额。这表明国产开源模型已具备强大能力,全球AI格局正发生变化。来源:微信公众号【机器之心】

11月1日·最新外国「自研」大模型,都是套壳国产?

单张4090跑到30fps,范浩强团队让VLA实时跑起来了

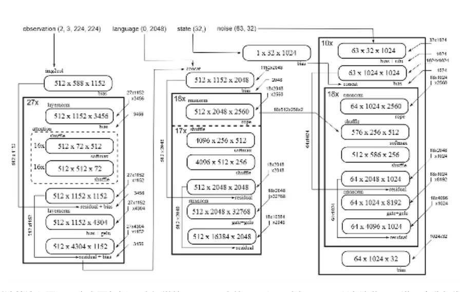
范浩强团队在VLA大模型运行速度上取得突破,其研究发现Pi0级别的模型在单张RTX 4090显卡上可达到30fps的实时运行速度。通过深入分析模型结构并进行优化,团队将模型推理时间从100+ms大幅缩减,显著提升了运行效率。优化后的代码已开源,为机器人实时控制提供了可能。未来,该团队还计划设计更高频率的算法框架,进一步提升VLA模型的实时性。来源:微信公众号【机器之心】

11月1日·最新外国「自研」大模型,都是套壳国产?

上海AI Lab发布SDAR模型

上海人工智能实验室发布混合扩散语言模型SDAR,这是首个突破6600 tps的开源扩散语言模型。SDAR通过“训练-推理解耦”的设计,融合了自回归模型的高性能与扩散模型的并行推理优势,能将任意自回归模型低成本改造为并行解码模型。实验证明,SDAR在多个基准上性能与原版自回归模型持平甚至超越,并在复杂科学推理任务上展现出巨大潜力。该团队已全面开源全系列SDAR模型及推理引擎,为大模型领域提供了一个强大而灵活的新工具。来源:微信公众号【量子位】

11月1日·最新外国「自研」大模型,都是套壳国产?

OtterLife:AI健康管理新突破

OtterLife是一款AI健康管理产品,通过虚拟游戏宠物角色“海獭”融入用户健康习惯养成过程,上线一年用户破百万。该产品结合游戏化设计、健康数据深度管理和个性化建议,为用户提供趣味性健康管理体验。OtterLife的成功在于其独特的游戏化设计和对用户数据的深度分析,而非单纯的情感连接。产品负责人相城表示,未来将继续深化游戏化探索,并基于用户高渗透率的需求进行功能拓展。来源:微信公众号【量子位】

11月1日·最新外国「自研」大模型,都是套壳国产?

双11换AI PC:效率提升新选择

随着双11的到来,AI PC成为热门选择。搭载英特尔®酷睿™Ultra 200H系列处理器的AI PC,具备强大的AI处理能力,能有效提升工作效率。这些AI PC不仅能处理各种办公任务,还能在无网络情况下完成AI任务,如文档整理、视频剪辑等。AI PC的生态逐渐完善,越来越多的应用开始适配英特尔的处理器,为用户提供了更丰富的功能和更好的体验。来源:微信公众号【量子位】

11月1日·最新外国「自研」大模型,都是套壳国产?
© 版权声明

相关文章

暂无评论

暂无评论...